| Beschikbaarheid Status: | |
|---|---|
| Hoeveelheid: | |
RJ-3680
HEE
Dit is ontworpen voor werkomstandigheden buiten en in de open lucht en snelwerkende, weerbestendige luik levert betrouwbare waterdichte afdichtingsprestaties, snelwerkende bediening door één persoon en uitzonderlijke duurzaamheid, waardoor veilige, gemakkelijke toegang wordt geboden voor personeelsdoorgang en onderhoud van apparatuur op open dekken van zeeschepen, offshore-platforms, havenapparatuur en industriële buitenfaciliteiten. Het luik is vervaardigd met een hoofdstructuur van hoogwaardig staal en corrosiebestendige roestvrijstalen kerncomponenten en is bestand tegen zware elementen, waaronder zware regen, opspattend zeewater, zoute mist, zand en sterke wind, waardoor langdurige stabiele prestaties in veeleisende buitenomgevingen worden gegarandeerd.
Parameter | Specificatie |
Model nr. | RJ-3680 |
Materiaal luikdeksel en mantel | Premium constructiestaal |
Materiaal afdichtingspakking | Neopreen met hoge elasticiteit |
Bedrijfsmodus | Enkel handwiel, snelwerkende bediening |
Kernvergrendeling en roterende componenten Materiaal | Roestvrij staal |
Materiaal scharnierbus | Nylon |
Afdichtend verpakkingsmateriaal | Grafiet |
Standaard afwerking | Anticorrosieve primer en topcoat |
Primaire toepassingsscenario's | Open scheepsdekken, offshore-platforms, havenfaciliteiten, industriële buiteninstallaties |
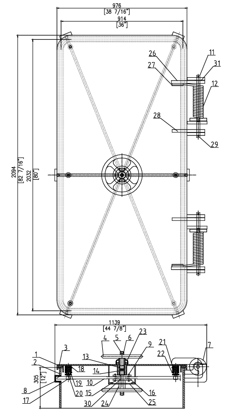
Nee. | Naam en specificaties | Materiaal |
1 | Luikomslagassemblage | STEEL |
2 | Coaming -montage | STEEL |
3 | Luikpakking | Neopreen |
4 | HANDWIELMONTAGE | STEEL |
5 | Middenas | Roestvrij staal |
6 | JAM-MOER | Roestvrij staal |
7 | TANDWIEL AFSTELLEN | STEEL |
8 | HONDENZAK MONTAGE | STEEL |
9 | COTTER-PEN | Roestvrij staal |
10 | Hondenarm | Roestvrij staal |
11 | SCHARNIERPEN | Roestvrij staal |
12 | SCHARNIERVEER | Roestvrij staal |
13 | BUS | NYLON |
14 | VERPAKKING | GRAFIET |
15 | HONDARM-PIN | Roestvrij staal |
16 | Roterende blokassemblage | Roestvrij staal |
17 | Zwenkgids | MESSING |
18 | AANPASSINGSKNOP | STEEL |
19 | DRAAIGELEIDERVEER | Roestvrij staal |
20 | SMEERMONTAGE | Roestvrij staal |
21 | WASMACHINE | Roestvrij staal |
22 | SCHROEF | Roestvrij staal |
23 | MOUW | STEEL |
24 | MOUW | STEEL |
25 | SCHELP | STEEL |
26 | SCHARNIERBLAD | STEEL |
27 | LENTE STEUN | STEEL |
28 | VEERBEVESTIGINGSONDERSTEUNING | STEEL |
29 | COTTER-PEN | Roestvrij staal |
30 | SLEUTEL | Roestvrij staal |
31 | WASMACHINE | Roestvrij staal |
Dit handwielbediende waterdichte luik is voorzien van een gecentraliseerd handwielaandrijfsysteem, waardoor één persoon binnen enkele seconden zonder gereedschap kan openen en sluiten, waardoor de onderhoudsefficiëntie aanzienlijk wordt verbeterd en de bedrijfstijd onder barre weersomstandigheden wordt verkort.
De zeer elastische neopreen pakking, gecombineerd met een meerpunts uniforme vergrendelingsstructuur, vormt een continue weerbestendige afdichting, waardoor regenwater, opspattend water, zand, stof en wind effectief worden geblokkeerd om de afgesloten ruimte binnen te dringen, waardoor interne apparatuur en personeel worden beschermd tegen agressieve elementen van buitenaf.
De hoofdstructuur is vervaardigd uit hoogwaardig constructiestaal, met uitzonderlijke slagvastheid en draagvermogen, en past zich aan dynamische trillingen en impactbelastingen op schepen en offshore-platforms aan, waardoor structurele integriteit op lange termijn wordt gegarandeerd zonder vervorming.
Alle roterende kern-, vergrendelings- en bevestigingscomponenten zijn gemaakt van roestvrij staal, met optionele anti-corrosie-upgrades, die uitstekende weerstand bieden tegen zoutmistcorrosie en verwering buitenshuis, waardoor de levensduur wordt verlengd en de onderhoudskosten op de lange termijn worden verlaagd voor industriële weerbestendige toegangsluiktoepassingen .
Het modulaire ontwerp maakt een snelle vervanging mogelijk van slijtende onderdelen, waaronder afdichtingspakkingen, bussen en veren, zonder ingewikkelde demontage, waardoor de stilstandtijd voor onderhoud en reparatie tot een minimum wordt beperkt.
Het snelwerkende weerbestendige luik werkt via een handwielaangedreven, gecentraliseerd synchroon vergrendelingssysteem. Wanneer het handwiel wordt gedraaid, drijft het de centrale roestvrijstalen as aan om te draaien, waardoor het afsteltandwiel en meerdere hondenarmen worden geactiveerd om een synchrone, uniforme vergrendeling of ontgrendeling te bereiken. Het draaimoment van het handwiel wordt omgezet in een gebalanceerde compressiekracht over de gehele omtrek van het luikdeksel, waardoor de neopreen afdichtingspakking tussen het luikdeksel en de luikhoofd gelijkmatig wordt samengedrukt om een continue, spleetvrije, weersbestendige afdichting te vormen. De veerondersteunde scharnierstructuur vermindert de openingsinspanning, terwijl de nylon bus en grafietpakking zorgen voor een soepele, slijtvaste werking van roterende componenten. In gesloten toestand is het luik bestand tegen sterke wind, zware regen en opspattend zeewater, waardoor stabiele afdichtingsprestaties behouden blijven in dynamische buiten- en maritieme omgevingen.
Controleer vóór installatie of de openingsgrootte van het installatieoppervlak overeenkomt met de afmetingen van het luikhoofd en zorg ervoor dat het installatieoppervlak vlak en waterpas is om ongelijkmatige spanning op de afdichtingspakking na installatie te voorkomen.
Las de coaming aan de installatiebasis met volledig, uniform laswerk, waarbij u ervoor zorgt dat de coaming verticaal uitgelijnd is en vrij is van lasvervorming. Verwijder na het lassen alle lasslakken en breng een anticorrosiecoating aan op het lasgebied om roest en corrosie te voorkomen.
Smeer het handwiel, de roterende as en de scharnieronderdelen elke 3 maanden met waterdicht vet. Inspecteer de neopreen pakking elke zes maanden op slijtage en veroudering en vervang deze onmiddellijk als er schade wordt geconstateerd. Controleer jaarlijks de dichtheid van de vergrendelbare hondenarmen om consistente weersbestendigheid te garanderen.
Ja, het is speciaal ontworpen voor open dekken op zee, offshore-platforms en andere ruwe maritieme buitenomgevingen, met uitstekende weerstand tegen opspattend zeewater, zoute mist, zware regen, harde wind en zanderosie.
Ja, het snelwerkende ontwerp met één handwiel maakt openen en vergrendelen door één persoon binnen enkele seconden zonder gereedschap mogelijk, zelfs onder barre weersomstandigheden, waardoor het onderhoud en de toegangsefficiëntie worden verbeterd.
We bieden op maat gemaakte diensten, waaronder maataanpassing, thermisch verzinkte afwerking, volledig roestvrijstalen constructie en op maat gemaakte coaminghoogten om aan specifieke project- en toepassingsvereisten te voldoen.
Dit is ontworpen voor werkomstandigheden buiten en in de open lucht en snelwerkende, weerbestendige luik levert betrouwbare waterdichte afdichtingsprestaties, snelwerkende bediening door één persoon en uitzonderlijke duurzaamheid, waardoor veilige, gemakkelijke toegang wordt geboden voor personeelsdoorgang en onderhoud van apparatuur op open dekken van zeeschepen, offshore-platforms, havenapparatuur en industriële buitenfaciliteiten. Het luik is vervaardigd met een hoofdstructuur van hoogwaardig staal en corrosiebestendige roestvrijstalen kerncomponenten en is bestand tegen zware elementen, waaronder zware regen, opspattend zeewater, zoute mist, zand en sterke wind, waardoor langdurige stabiele prestaties in veeleisende buitenomgevingen worden gegarandeerd.
Parameter | Specificatie |
Model nr. | RJ-3680 |
Materiaal luikdeksel en mantel | Premium constructiestaal |
Materiaal afdichtingspakking | Neopreen met hoge elasticiteit |
Bedrijfsmodus | Enkel handwiel, snelwerkende bediening |
Kernvergrendeling en roterende componenten Materiaal | Roestvrij staal |
Materiaal scharnierbus | Nylon |
Afdichtend verpakkingsmateriaal | Grafiet |
Standaard afwerking | Anticorrosieve primer en topcoat |
Primaire toepassingsscenario's | Open scheepsdekken, offshore-platforms, havenfaciliteiten, industriële buiteninstallaties |
Nee. | Naam en specificaties | Materiaal |
1 | Luikomslagassemblage | STEEL |
2 | Coaming -montage | STEEL |
3 | Luikpakking | Neopreen |
4 | HANDWIELMONTAGE | STEEL |
5 | Middenas | Roestvrij staal |
6 | JAM-MOER | Roestvrij staal |
7 | TANDWIEL AFSTELLEN | STEEL |
8 | HONDENZAK MONTAGE | STEEL |
9 | COTTER-PEN | Roestvrij staal |
10 | Hondenarm | Roestvrij staal |
11 | SCHARNIERPEN | Roestvrij staal |
12 | SCHARNIERVEER | Roestvrij staal |
13 | BUS | NYLON |
14 | VERPAKKING | GRAFIET |
15 | HONDARM-PIN | Roestvrij staal |
16 | Roterende blokassemblage | Roestvrij staal |
17 | Zwenkgids | MESSING |
18 | AANPASSINGSKNOP | STEEL |
19 | DRAAIGELEIDERVEER | Roestvrij staal |
20 | SMEERMONTAGE | Roestvrij staal |
21 | WASMACHINE | Roestvrij staal |
22 | SCHROEF | Roestvrij staal |
23 | MOUW | STEEL |
24 | MOUW | STEEL |
25 | SCHELP | STEEL |
26 | SCHARNIERBLAD | STEEL |
27 | LENTE STEUN | STEEL |
28 | VEERBEVESTIGINGSONDERSTEUNING | STEEL |
29 | COTTER-PEN | Roestvrij staal |
30 | SLEUTEL | Roestvrij staal |
31 | WASMACHINE | Roestvrij staal |
Dit handwielbediende waterdichte luik is voorzien van een gecentraliseerd handwielaandrijfsysteem, waardoor één persoon binnen enkele seconden zonder gereedschap kan openen en sluiten, waardoor de onderhoudsefficiëntie aanzienlijk wordt verbeterd en de bedrijfstijd onder barre weersomstandigheden wordt verkort.
De zeer elastische neopreen pakking, gecombineerd met een meerpunts uniforme vergrendelingsstructuur, vormt een continue weerbestendige afdichting, waardoor regenwater, opspattend water, zand, stof en wind effectief worden geblokkeerd om de afgesloten ruimte binnen te dringen, waardoor interne apparatuur en personeel worden beschermd tegen agressieve elementen van buitenaf.
De hoofdstructuur is vervaardigd uit hoogwaardig constructiestaal, met uitzonderlijke slagvastheid en draagvermogen, en past zich aan dynamische trillingen en impactbelastingen op schepen en offshore-platforms aan, waardoor structurele integriteit op lange termijn wordt gegarandeerd zonder vervorming.
Alle roterende kern-, vergrendelings- en bevestigingscomponenten zijn gemaakt van roestvrij staal, met optionele anti-corrosie-upgrades, die uitstekende weerstand bieden tegen zoutmistcorrosie en verwering buitenshuis, waardoor de levensduur wordt verlengd en de onderhoudskosten op de lange termijn worden verlaagd voor industriële weerbestendige toegangsluiktoepassingen .
Het modulaire ontwerp maakt een snelle vervanging mogelijk van slijtende onderdelen, waaronder afdichtingspakkingen, bussen en veren, zonder ingewikkelde demontage, waardoor de stilstandtijd voor onderhoud en reparatie tot een minimum wordt beperkt.
Het snelwerkende weerbestendige luik werkt via een handwielaangedreven, gecentraliseerd synchroon vergrendelingssysteem. Wanneer het handwiel wordt gedraaid, drijft het de centrale roestvrijstalen as aan om te draaien, waardoor het afsteltandwiel en meerdere hondenarmen worden geactiveerd om een synchrone, uniforme vergrendeling of ontgrendeling te bereiken. Het draaimoment van het handwiel wordt omgezet in een gebalanceerde compressiekracht over de gehele omtrek van het luikdeksel, waardoor de neopreen afdichtingspakking tussen het luikdeksel en de luikhoofd gelijkmatig wordt samengedrukt om een continue, spleetvrije, weersbestendige afdichting te vormen. De veerondersteunde scharnierstructuur vermindert de openingsinspanning, terwijl de nylon bus en grafietpakking zorgen voor een soepele, slijtvaste werking van roterende componenten. In gesloten toestand is het luik bestand tegen sterke wind, zware regen en opspattend zeewater, waardoor stabiele afdichtingsprestaties behouden blijven in dynamische buiten- en maritieme omgevingen.
Controleer vóór installatie of de openingsgrootte van het installatieoppervlak overeenkomt met de afmetingen van het luikhoofd en zorg ervoor dat het installatieoppervlak vlak en waterpas is om ongelijkmatige spanning op de afdichtingspakking na installatie te voorkomen.
Las de coaming aan de installatiebasis met volledig, uniform laswerk, waarbij u ervoor zorgt dat de coaming verticaal uitgelijnd is en vrij is van lasvervorming. Verwijder na het lassen alle lasslakken en breng een anticorrosiecoating aan op het lasgebied om roest en corrosie te voorkomen.
Smeer het handwiel, de roterende as en de scharnieronderdelen elke 3 maanden met waterdicht vet. Inspecteer de neopreen pakking elke zes maanden op slijtage en veroudering en vervang deze onmiddellijk als er schade wordt geconstateerd. Controleer jaarlijks de dichtheid van de vergrendelbare hondenarmen om consistente weersbestendigheid te garanderen.
Ja, het is speciaal ontworpen voor open dekken op zee, offshore-platforms en andere ruwe maritieme buitenomgevingen, met uitstekende weerstand tegen opspattend zeewater, zoute mist, zware regen, harde wind en zanderosie.
Ja, het snelwerkende ontwerp met één handwiel maakt openen en vergrendelen door één persoon binnen enkele seconden zonder gereedschap mogelijk, zelfs onder barre weersomstandigheden, waardoor het onderhoud en de toegangsefficiëntie worden verbeterd.
We bieden op maat gemaakte diensten, waaronder maataanpassing, thermisch verzinkte afwerking, volledig roestvrijstalen constructie en op maat gemaakte coaminghoogten om aan specifieke project- en toepassingsvereisten te voldoen.
De DF-274-5 2 Dog Hoge waterdichte luik is een premium marien dekfitting ontworpen door Hee (Changshu Haichuan Engineering & Equipment Co., Ltd.), een toonaangevende in China gevestigde fabrikant die gespecialiseerd is in mariene en offshore-apparatuur. Ontworpen om aan de cruciale behoefte aan betrouwbare waterweerstand in harde mariene omgevingen aan te pakken, dient dit luik als een beschermende barrière voor dekopeningen, waardoor het binnendringen van water, stofaccumulatie en corrosie die interne componenten van schepen, offshore platforms of haveninfrastructuur kunnen beschadigen.